Энциклопедии, словари, справочники
 Энциклопедии, словари, справочники (поиск)   /   Большой энциклопедический словарь. Сельское хозяйство  Читатели спрашивают 
 

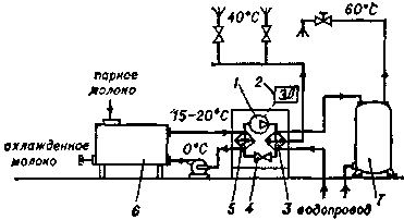
ТЕПЛОХОЛОДИЛЬНАЯ УСТАНОВКА , энергосберегающее устройство для одноврем. охлаждения продукта и произ-ва тепловой энергии. Принцип действия Т. у. основан на использовании обратного термодинамич. холодильного цикла. В с.-х. произ-ве распространены паракомпресснонные Т. у. с электроприводом, применяемые на молочных фермах для охлаждения молока и одноврем. нагрева воды. Осн. элементы Т. у.— компрессор, конденсатор, испаритель, приёмник [приемник] низкопотенц. тепловой энергии и передатчик тепловой энергии. В зависимости от конструктивного исполнения приёмник [приемник] низкопотенц. энергии и испаритель могут быть выполнены в виде одного элемента, так же, как конденсатор и передатчик тепловой энергии. Т. у. работает при наличии рабочего тела, или хладагента (напр., фреона, аммиака). Свежевыдоенное молоко (темп-ра 30—35 °С) поступает в резервуар-охладитель, в к-ром охлаждается до темп-ры 4—5 °С ледяной водой, подающейся от Т. у. циркуляционным насосом.

Теплохолодильная установка для молочных

ферм: 1 — компрессор; 2 — электродвигатель; 3 — конденсатор; 4 — дроссельное устройство; 5 — испаритель; 6 — приёмник [приемник] низкопотенциальной тепловой энергии; 7 — передатчик тепловой энергии.

При этом вода нагревается до темп-ры 15—18 °С, после чего возвращается в испаритель Т. у., где вновь охлаждается хладагентом до 0°С. Тепло, отобранное от молока, передаётся [передается] фреону, циркулирующему в контуре Т. у. Фреон испаряется и сжимается в компрессоре до более высокого давления. Одновременно с повышением давления возрастает темп-ра хладагента (до 110 °С и более), к-рый из компрессора поступает в конденсатор, где отдаёт [отдает] тепло воде, нагреваемой до темп-ры 40—60 °С. Хладагент при этом охлаждается до темп-ры конденсации (при постоянном давлении), затем поступает в дроссельное устройство, после чего давление резко уменьшается, хладагент переходит из газообразного состояния в жидкое. Кроме одновремен. охлаждения молока и нагрева воды на фермах кр. рог. скота, Т. у. могут применяться при сушке с.-х. продукции, в системах микроклимата животноводч. помещений и овощехранилищ. Используемая в СССР Т. у. ТХУ-14 предназначена для комплексного тепло-и хладоснабжения молочных ферм с поголовьем 200 коров. Теплопроизводительность её [ее] 21,5 кВт, хладопроизводительность 16,86 кВт, потребляемая мощность 7,2 кВт, в т. ч. компрессора — 6,0 кВт. Расход энергии на охлаждение 1000 л молока и одновременный нагрев 0,9 м3 воды — 15,5 кВт-ч; хладагент — R 22. Габариты (м) — 1,8 X 0,57 X 1,48. Ср. масса сухой установки 550 кг.

• Холодильные машины. Справочник, М., 1982.


^ЗГЛ: ТЕПЛОХОЛОДИЛЬНАЯ УСТАНОВКА
Top.Mail.Ru
Яндекс.Метрика